Vážení zákazníci, připravili jsme pro Vás širokou nabídku zavíračů německé firmy GEZE, které mají jednoduchou montáž a jsou dostupné ve velkém množství typů. Technické a konstrukční vlastnosti dveřních zavíračů GEZE zaručují bezpečnost a spolehlivost s minimálními nároky na údržbu.
Dveřní zavírače GEZE s horní montáží s ramínkem
Technické vybavení dveřního zavírače s horní montáží GEZE TS 4000

Legenda
1. Nastavení rychlosti zavírání
2. Nastavení koncového dorazu
3. Nastavení tlumení otevření
4. Pružina
5. Ukazatel zavírací síly
6. Nastavení zavírací síly zepředu
7. Nastavení zavírací síly zboku
Technické vybavení dveřního zavírače s horní montáží GEZE TS 2000 NV BC

Základní funkce dveřního zavírače GEZE s horní montáží s ramínkem

1) Tlumení otevření - snižuje rychlost intenzivně otvíraných dveří při otevření na cca 90°. Nemůže nahradit např. u dveří otvíraných směrem ven a dveří, které jsou vystaveny větru, samostatné omezení úhlu otvírání, montáž dveřní zarážky nebo jiného stavebního opatření.
2) Rychlost zavírání - rychlost, kterou se dveře zavírají, lze individuálně nastavit.
3) Koncový doraz - pohyb dveří se v oblasti posledních stupňů před dovřením dveří zrychlí, aby překonal odpor při zavírání jako je např. odpor vzduchu.
4) Zpoždění zavírání - snižuje rychlost zavírání dveří, příp. dveře zastaví tak, aby procházející osoby měly dostatek času na projití.
GEZE dveřní zavírače s nastavitelnou zavírací silou:
Normy stanovují, že velikost dveřních zavíračů (zavírací síla dveřních zavíračů) se musí vhodně zvolit vzhledem k šířce dveří. Pokud to stavební podmínky (výška dveří, hmotnost dveří) nebo místní podmínky (vliv větru) vyžadují, musí se nastavit nejbližší vyšší velikost.
GEZE TS 4000, TS 2000 a jejich varianty zahrnují v jednom tělese několik velikostí dveřních zavíračů, které lze nastavit pomocí nastavovacího ventilu, nebo montážní polohy. V případě TS 4000 lze zjistit zvolenou velikost na vizuálním indikátoru.
| Velikost dveřního zavírače EN | Šířka dveřního křídla (mm) |
| síla 1 | do 750 |
| síla 2 | nad 750 do 850 |
| síla 3 | nad 850 do 950 |
| síla 4 | nad 950 do 1100 |
| síla 5 | nad 1 100 do 1 250 |
| síla 6 | nad 1 250 do 1 400 |
| síla 7 | nad 1 400 do 1 600 |
Speciálně pro montáž na protilehlé straně závěsů

Rozměr A = hloubka ostění
Rozměr B = hloubka ostění + 2x tloušťka dveří + 2x vzdálenost osy závěsů
Otevření dveří je možné pouze do 180°, pokud se nepřekročí rozměr A = 70 mm a rozměr B = 200 mm
Krytky pro dveřní zavírače GEZE
Pro zavírače s horní montáží s ramínkem TS 2000 a TS 4000 jsou dostupné následující krytky: stříbrná barva, tmavý bronz, bílá RAL 9016, leštěná mosaz, nerez ocel. Další RAL barvy na vyžádání.

Integrované dveřní zavírače GEZE Boxer
Integrovaný dveřní zavírač GEZE Boxer je skrytě nainstalovaný a zapuštěný do dveřního křídla a zárubně. Kluzná lišta a páka jsou viditelné pouze při otevřených dveřích. Zavírací síla, rychlost zavírání, koncový doraz a hydraulické tlumení otevření lze pohodlně nastavit v namontovaném stavu. Dveřní zavírač lze používat pro pravé a levé dveře s dorazem. Pro ochranné protipožární dveře je nutný dodatečný důkaz způsobilosti týkající se daných dveří. Při úhlu otevření cca 120° se otvírání dveří musí omezit.

Dveřní zavírače GEZE s horní montáží s kluznou lištou
Technické vybavení - dveřní zavírače s horní montáží GEZE TS 5000

Legenda
1. Nastavení rychlosti zavírání
2. Nastavení koncového dorazu
3. Nastavení tlumení otevření
4. Pružiny
5. Ukazovatel zavírací síly
6. Nastavení zavírací síly zepředu
7. Nastavení zavírací síly zboku
Technické vybavení - dveřní zavírače s horní montáží GEZE TS 3000 V

Základní funkce výrobku a informace o výrobku GEZE dveřní zavírače s kluznou lištou

1) Tlumení otvírání - snižuje rychlost intenzivně otvíraných dveří cca při 90° otevření. Nemůže nahradit např. u dveří otvíraných směrem ven a dveří, které jsou vystaveny větru, samostatné omezení úhlu otvírání, montáž dveřní zarážky nebo jiného stavebního opatření.
2) Rychlost zavírání - rychlost, kterou se dveře zavírají, lze individuálně nastavit.
3) Koncový doraz - pohyb dveří se v oblasti posledních stupňů před zavřením dveří zrychlí, aby překonal odpor při zavírání jako je např. odpor vzduchu.
4) Zpoždění zavírání - snižuje rychlost zavírání dveří, příp. dveře zastaví, takže procházející osoby mají dostatek času na to, aby prošly dveřmi.
GEZE dveřní zavírače s nastavitelnou zavírací silou
Normy stanovují, že velikost dveřních zavíračů (zavírací síla dveřních zavíračů) se musí vhodně zvolit vzhledem k šířce dveří. Pokud to vyžadují stavební poměry (výška dveří, hmotnost dveří) nebo místní poměry (vliv větru), musí se nastavit daná nejbližší vyšší velikost. GEZE TS 3000 V, TS 5000 a jejich varianty obsahují v jednom tělese několik velikostí dveřních zavíračů, které lze nastavit pomocí nastavovacího ventilu. U dveřního zavírače GEZE TS 5000 lze zkontrolovat zvolenou velikost pomocí vizuálního indikátoru.
| Velikost dveřního zavírače | Šířka dveřního křídla (mm) |
| síla 1 | do 750 |
| síla 2 | nad 750 do 850 |
| síla 3 | nad 850 do 950 |
| síla 4 | nad 950 do 1100 |
| síla 5 | nad 1100 do 1250 |
| síla 6 | nad 1250 do 1400 |
GEZE dveřní zavírač s mechanickou aretací: namontováním aretace do příslušné kluzné lišty se umožní stupňovitě nastavitelné zajištění polohy otevření dveří v rozsahu 80° až 130°. Lze nastavit přídržnou sílu aretace. Tím je aretace i vypínatelná.
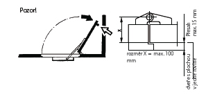
Speciálně pro montáž na protilehlé straně závěsu

Omezte max. úhel otevření použitím dveřních zarážek nebo použitím GEZE TSTOP kluzné lišty (X popisuje vzdálenost středu otáčení k ploše dveří).
Podlahové zavírače dveří GEZE
Podlahové zavírače dveří s dorazem/kyvné dveře a volitelnou zajišťovací polohou. Rychlost zavírání a hydraulický koncový doraz lze nastavit. Pevné tlumení otvírání zabraňuje nekontrolovanému otvírání dveří a předchází poškozením. Velmi malá celková konstrukční výška pouze 42 mm je v novostavbách a při dodatečné montáži vítanou výhodou. Pojistný ventil chrání před svévolným přetížením.
Krycí desky
Pro podlahové zavírače dveří GEZE jsou k dispozici různé krycí desky s příslušenstvím šroubů. Lze je použít vpravo, vlevo a u kyvadlových dveří.
Čepové závěsy/lišty dveří
K namontování podlahového zavírače dveří na dveřích s dorazem jsou zapotřebí speciální čepové závěsy a lišty dveří se vzdáleností otočných bodů 36 mm.
Požadavek
Normy EN 1154 stanovují, že velikost (zavírací síla) zavírače dveří musí být nastavená vhodně vzhledem k šířce dveří. Pokud to konstrukční podmínky (výška dveří, hmotnost dveří) nebo místní podmínky (vliv větru) vyžadují, musí se nastavit vyšší síla.
Řešení od GEZE
Podlahové zavírače dveří variant série TS 500 NV/TS 550 a TS 550 NV zahrnují několik velikostí v jednom těle. Pomocí nastavovacího šroubu lze odpovídající zavírací sílu jednoduše přizpůsobit konstrukčním a místním vlastnostem.